0,00 Р
Блок питания HC-SE2 (схема 13783)
Поделиться:
Применение:
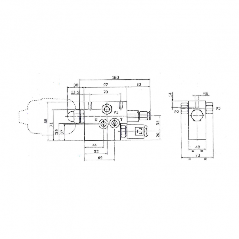
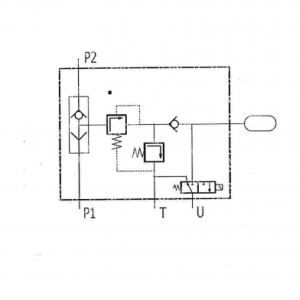
Блок питания HC-SE2 (схема 13783) предназначен для формирования давления питания блока управления гидрораспределителем или регулируемым насосом-мотором.
Технические характеристики:
Тип - HC-SE2/1-VPE-V05-30-RW-G02
Максимальное рабочее давление - 350 бар
Давление настройки - 30 бар
Максимальное давление в сливной линии - 3 бар
Объем гидроаккумулятора - 0.75 л
Напряжение питания магнита - 24 В
Блок питания HC-SE2 (схема 13783) предназначен для формирования давления питания блока управления гидрораспределителем или регулируемым насосом-мотором.
Технические характеристики:
Тип - HC-SE2/1-VPE-V05-30-RW-G02
Максимальное рабочее давление - 350 бар
Давление настройки - 30 бар
Максимальное давление в сливной линии - 3 бар
Объем гидроаккумулятора - 0.75 л
Напряжение питания магнита - 24 В
Единица измерения: шт.
Купить Блок питания HC-SE2 (схема 13783) вы можете в компании СпецМашКомплект, оформив заказ в интернет магазине, или
отправив заявку
по почте, а также по телефону
или в
офисе компании
.
Вам может понравиться









